Utility & Design Patent Drawings

Prepared to Patent Office Standards for Attorneys, Firms & Individual Inventors


USPTO | EPO | PCT compliant formatting | Confidential by default | NDA executed upon request

See Selected Published Drawings Below

Built for Filing from the Start

Clear, structured drawing sets aligned with the specification and claims.
Consistent line weights, organized reference numerals, and patent-office ready formatting.

  • Consistent, examiner-ready line work

  • Proper margins and minimum text sizing

  • Structured and coherent figure sets

  • Clear coordination with specification and claims

  • Surface shading applied to accurately define form (design patents)

Select non-patent technical illustration work is also available. Follow Here

Technical Fluency Across Disciplines

Mechanical Assemblies

Consumer Products

Structural Components

Medical Devices

Electrical Systems

Process & System Diagrams

Experience supporting patent filings across a wide range of subject matter, including mechanical assemblies, consumer products, medical devices, structural systems, and electrical technologies.

A great reference for design drawing reproduction guidelines for US and WIPO applications can be Found Here

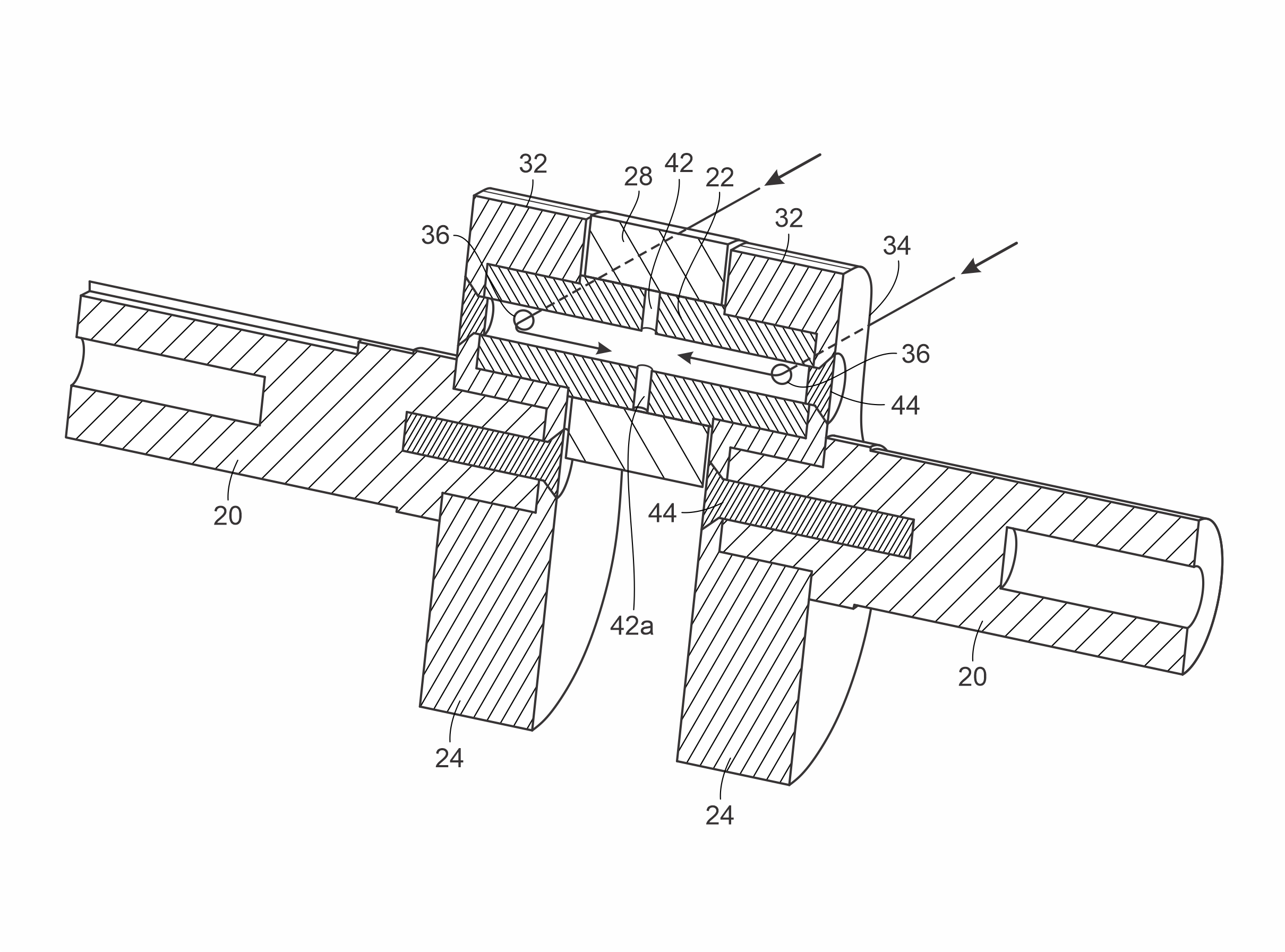
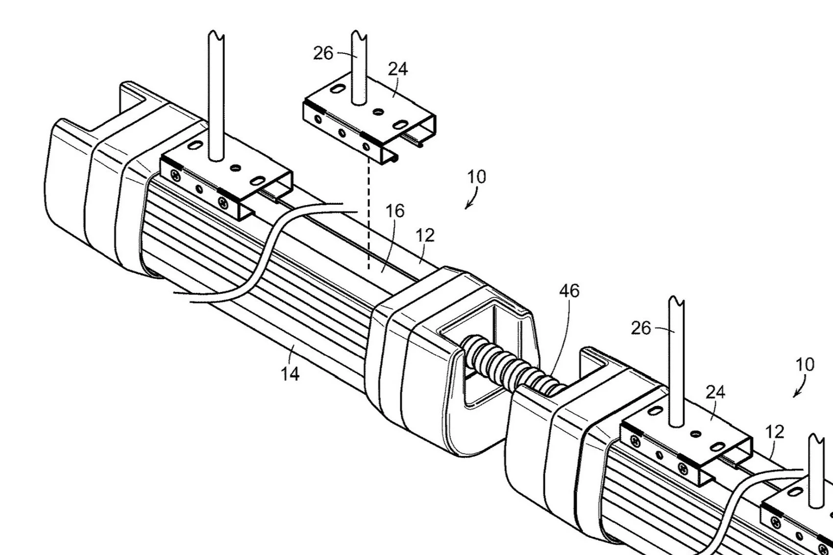
Drawing Process

How the Process Works

1. Reference Review

Sketches, CAD files, photos, or prior figures are reviewed. A project quote is provided.

2. Draft Preparation & Review

Draft figures are prepared and returned for review. Revisions and reference numerals are finalized.

3. Final Delivery

Complete filing-ready drawing sets delivered as organized PDF figures ready for submission.

Design Patent Process Examples

Client Reference Materials

3D CAD file or 3D Scan

Draft Figure Preparation

Visible contours and surface transitions are refined to establish proper line hierarchy

Final Filing-Ready Drawings

Final figures are prepared to meet design patent drawing requirements, with consistent views, line weights, and compliant surface shading to accurately convey form

Utility Patent Process Examples

Client Reference Materials

2D Scan image with client comments

Draft Figure Preparation

Figures are reproduced with clean vector line work and returned for client review and markup.

Final Filing-Ready Drawings

Final figures prepared to meet utility patent drawing requirements, with compliant formatting, reference numerals, and line work to support the written specification.

Typical turnaround: 1–2 weeks depending on complexity. Rush timelines available when needed.

Why Clients Continue to Work With Me

  • Reliable Turnaround
    Clear timelines and responsive communication.

  • Technical Interpretation
    Complex structures translated into precise drawings.

  • Multi-Figure Consistency
    Reference numerals and views coordinated across sets.

  • Patent Office Formatting
    Prepared to meet specific patent office requirements.

Request a Drawing Quote

Is this request for a design or utility application? Inform me on the type of reference material you have available… sketches, CAD files, photos, or prior figures.

Common formats include:

2D: PDF, AI, DWG

3D: STEP, IGS, STL, OBJ

All submissions handled confidentially.
NDA available upon request.

USPTO | EPO | PCT compliant drawings
15+ years experience
Used by patent attorneys & firms
Confidential submissions